开料排单
2018-10-26 10:01:34阅读量:674551
点击订单生产-订单生产,进入订单生产页面
点击开料排单
进入开料排单界面
1、如何新增一个排单
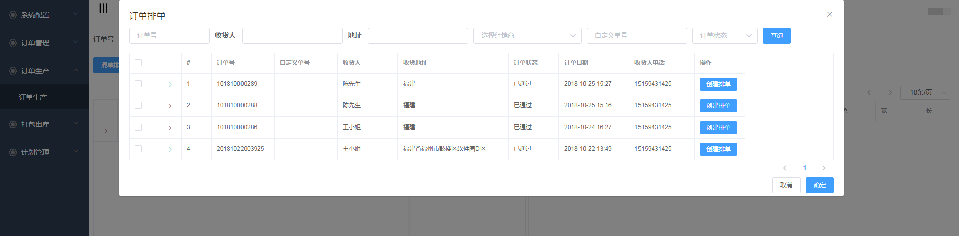
排单分为订单排单和混单排单
(1)新增混单排单
点击混单排单按钮

弹出新增排单界面
选择机台,点击提交

排单新增成功,会自动生成排单号,并且在开料排单界面显示(新增的混单排单需要手动添加板材)

2018-10-26 10:01:34阅读量:674551




































发表回复
开料排单